Analog Devices / Maxim Integrated DS28C50 DeepCover® I2C Secure Authenticator
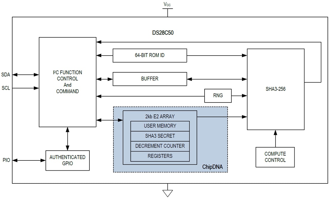
Analog Devices Inc. DS28C50 DeepCover® I2C Secure Authenticator combines FIPS202-compliant secure hash algorithm (SHA-3) challenge and response authentication with Maxim's patented ChipDNA™ technology. This technology provides a physically unclonable function (PUF) and is a cost-effective solution with the ultimate protection against security attacks. The ChipDNA implementation utilizes the random variation of semiconductor device characteristics that naturally occur during wafer fabrication. The ChipDNA circuit generates a unique output value that is repeatable over time, temperature, and operating voltage. Attempts to probe or observe ChipDNA operations modifies the underlying circuit characteristics, thus preventing discovery of the unique value used by the chip's cryptographic functions.The DS28C50 utilizes the ChipDNA output as key content to secure all device-stored data cryptographically. With ChipDNA capability, the device provides a core set of cryptographic tools derived from integrated blocks. These blocks include an SHA-3 engine, a FIPS/NIST compliant true random number generator (TRNG), 2Kb of secured EEPROM, a decrement-only counter, and a unique 64-bit ROM identification number (ROM ID). The unique ROM ID is used as a fundamental input parameter for cryptographic operations and serves as an electronic serial number within the application. The ADI DS28C50 DeepCover® I2C Secure Authenticator communicates over an I2C network.
Features
- Robust countermeasures protect against security attacks
- Patented physically unclonable function secures device data
- Actively monitored die shield detects and reacts to intrusion attempts
- All stored data cryptographically protected from discovery
- Efficient secure hash algorithm authenticates peripherals
- FIPS 202-Compliant SHA-3 algorithm for challenge/response authentication
- FIPS 198-Compliant keyed-Hash Message Authentication Code (HMAC)
- TRNG with NIST SP 800-90B compliant entropy source
- Supplemental features enable easy integration into end applications
- 17-Bit one-time settable, non-volatile decrement-only counter with authenticated read
- One GPIO pin with optional authentication control
- 2Kb of EEPROM for user data, key, and control registers
- Unique and unalterable factory-programmed 64-bit identification number (ROM ID)
- 3.3V ±10%, -40°C to +85°C operating range
- 6-Pin TDFN-EP package (3mm x 3mm)
- I2C communication, up to 1MHz
Applications
- Authentication of medical sensors and tools
- Secure management of limited-use consumables
- IoT node crypto-protection
- Accessory and peripheral secure authentication
- Printer cartridge identification and authentication
Block Diagram
Application Notes
Published: 2019-11-13
| Updated: 2023-05-04
