Analog Devices / Maxim Integrated DS28E84 DeepCover 1-Wire Authenticator

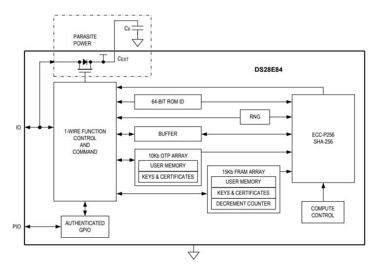
Analog Devices DS28E84 DeepCover 1-Wire Authenticator is a radiation-resistant secure authenticator with a core set of cryptographic tools. Security functions are derived from integrated asymmetric (ECC-P256) and symmetric (SHA-256). The device integrates a FIPS-compatible true random number generator (TRNG). Also incorporated is 10Kb of secured OTP, 15Kb of FRAM, one configurable GPIO, and a unique 64-bit ROM identification number (ROM ID).

Features

  • High radiation resistance allows UserProgrammable Manufacturing or calibration data before medical sterilization
    • Resistant up to 50kGy (kiloGray) of radiation
    • 10kb of One Time Programmable (OTP) for user data, keys, and certificates
    • 15Kb of secure FRAM for user data and certificates
  • ECC-P256 compute engine
    • FIPS 186 ECDSA P256 signature and verification
    • ECDH key exchange for session key establishment
    • ECDSA authenticated R/W of configurable memory
  • SHA-256 compute engine
    • FIPS 180 MAC for secure download/boot
    • FIPS 198 HMAC for bidirectional authentication and optional GPIO control
  • SHA-256 OTP (one-time pad) encrypted R/W of vonfigurable memory through ECDH established key
  • Optional chip-generated Pr/Pu key pairs for ECC operations or secrets for SHA256 functions
  • One GPIO pin with optional authentication control
    • Open-drain, 4mA/0.4V
    • Optional SHA-256 or ECDSA authenticated on/off and state read
    • Optional ECDSA certificate to set on/off after multiblock hash for secure download
  • TRNG with NIST SP 800-90B compliant entropy source with function to read out
  • 17-bit one-time settable, nonvolatile DecrementOnly Counter with Authenticated Read
  • Unique and unalterable factory-programmed 64-bit identification number (ROM ID)
    • Optional input data component to crypto and key operations
  • Advanced 1-wire protocol minimizes interface to just single contact
  • 3.3V ±10%, 0°C to +50°C operating range
  • ±8kV HBM ESD protection of 1-Wire IO pin
  • 6-Pin, 3mm x 3mm TDFN

Applications

  • Medical consumables secure authentication
  • Medical tools/accessories identification and calibration
  • Accessory and peripheral secure authentication
  • Secure storage of cryptographic keys for host controllers
  • Secure boot or download of firmware and/or system parameters

Block Diagram

Block Diagram - Analog Devices / Maxim Integrated DS28E84 DeepCover 1-Wire Authenticator
Published: 2019-03-26 | Updated: 2023-09-15