Analog Devices / Maxim Integrated MAX20743 Step-Down Switching Regulator

Analog Devices MAX20743 Step-Down Switching Regulators are fully integrated, highly efficient switching regulators with PMBus™ for applications operating from 4.5V to 16V and requiring up to 35A maximum load. This single-chip regulator provides extremely compact, high-efficiency power delivery solutions with high-precision output voltages and excellent transient response for networking, datacom, and telecom equipment. The MAX20743 regulator offers a broad range of programmable features through either the PMBus or a capacitor and resistor connected to a dedicated programming pin.

This feature can optimize the operation for a specific application, reducing the component count and/or setting appropriate trade-offs between the regulator’s performance and system cost. The Analog Devices MAX20743 step-down switching regulator offers the ease of programming that enables using the same design for multiple applications.

Features

  • High-Power Density and Low Component Count:
    • Overall Solution Size 509mm2 Including Inductor and Output Capacitors
    • 90.8% Peak Efficiency with VDDH = 12V and VOUT = 1V
    • Fast Transient Response: Supports Up to 300A/μs Load-Step Transients
  • Optimized Component Performance and Efficiency with Reduced Design-In Time:
    • PMBus-Compliant Interface for Telemetry and Power Management
    • Voltage, Current, and Temperature Reporting through Digital Bus
  • Increased Power-Supply Reliability with System and IC Self-Protection Features:
    • Differential Remote Sense with Open-Circuit Detection
    • Hiccup Overcurrent Protection
    • Programmable Thermal Shutdown

Applications

  • Communication Equipment
  • Networking Equipment
  • Servers and Storage Equipment
  • Point-of-Load Voltage Regulators
  • μP Chipset
  • Memory VDDQ
  • I/O

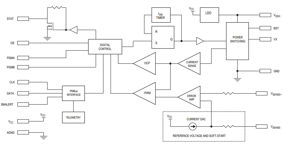
MAX20743 Block Diagram

Block Diagram - Analog Devices / Maxim Integrated MAX20743 Step-Down Switching Regulator

Typical System Efficiency vs. Load Current (VDDH = 12V)

Performance Graph - Analog Devices / Maxim Integrated MAX20743 Step-Down Switching Regulator
Published: 2017-07-13 | Updated: 2023-04-17