Microchip Technology PIC32MZ Embedded Connectivity w/FPU Starter Kits
Microchip Technology PIC32MZ Embedded Connectivity Starter Kits come with a Floating Point Unit (FPU) and include the DM320007 for non-Crypto development or DM320007-C for Crypto development. These low-cost kits develop and test USB and Ethernet-based applications with PIC32MZ EF family devices.These kits are compatible with Ethernet PHY daughter boards; LAN8720A PHY Daughter Board (AC320004-3) and LAN9303 PHY Switch Daughter Board (AC320004-4).
Features
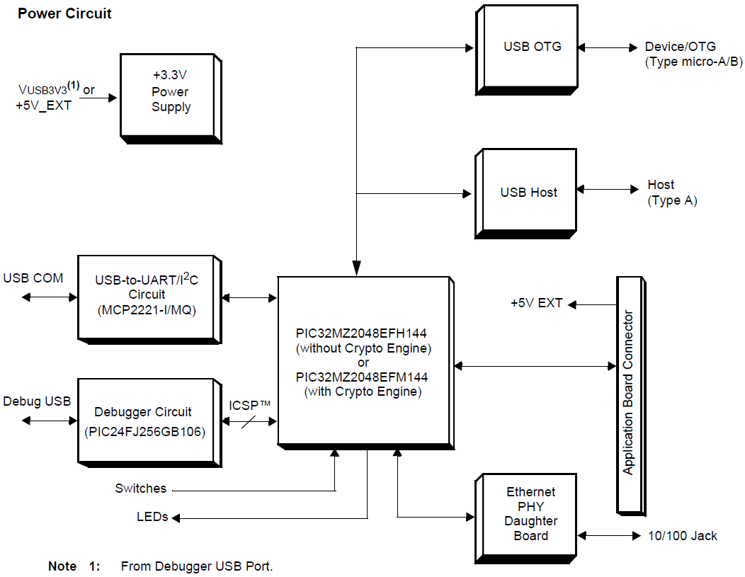
- Two Mini-B USB ports, one for debugging and one for USB-to-UART or I2C communications
- Standard-A USB port for the embedded host
- Micro-AB USB Host/Device/OTG port
- The PHY daughter board features an RJ-45 Ethernet port for network connectivity
Kit Contents
- One development board
- One LAN8740A Ethernet PHY Daughter Board
- Two USB mini-B to full-sized A cables (one cable for debugging purposes and to power the development board and one cable for USB-to-UART communication)
- One USB micro-B to full-sized A cable (to communicate with the PIC32 USB port)
- One RJ-45 CAT5 Ethernet cable (to communicate with the PIC32 Ethernet port)
Block Diagram
Published: 2016-03-07
| Updated: 2022-03-11
