Murata Electronics PicoBK™ MYRLP-F-RD/RE Series DC/DC Converters

Murata Electronics PicoBK™ MYRLP-F-RD/RE Series DC/DC Converters are synchronous step-down DC/DC converters that integrate an inductor and a control IC into a miniaturized package measuring 2mm x 2.5mm x 1mm. A space-saving power supply can be configured by adding two external capacitors. These converters use an ultra-low current consumption circuit and PFM control to realize high efficiency with a light load. The 1.8V to 6V operating voltage range enables support for applications that require an internally fixed output voltage from 0.5V to 3.60V. Murata Electronics PicoBK MYRLP-F-RD/RE DC/DC Converters have a built-in undervoltage lock-out (UVLO) function and are green operation compatible. The series is also lead-free, halogen-free, and EU RoHS compliant.

Features

  • Integrated inductor in one package
  • Designed for noise reduction
  • Ceramic capacitor compatible
  • Green operation compatible
  • Lead-free and halogen-free
  • EU RoHS compliant

Applications

  • Smart meters
  • Sensor modules
  • Wearable devices
  • Energy harvesting devices
  • Low power RF
  • Back-up power supply circuits
  • Smart cards
  • Devices with 1 lithium cell

Specifications

  • 1.8V to 6.0V input voltage range
  • 0.5V to 3.60V output voltage setting
  • 150mA output current
  • 200nA supply current at VOUT=1.8V
  • 86% typical efficiency
  • 2mm x 2.5mm x 1mm (W x L x H) dimensions

Typical Application Circuit

Murata Electronics PicoBK™ MYRLP-F-RD/RE Series DC/DC Converters

Typical Performance Characteristics

Murata Electronics PicoBK™ MYRLP-F-RD/RE Series DC/DC Converters

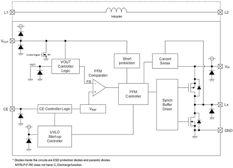
Block Diagram

Murata Electronics PicoBK™ MYRLP-F-RD/RE Series DC/DC Converters

Videos

Published: 2022-08-29 | Updated: 2023-08-21