NXP Semiconductors ASLx507 DC-to-DC Boost Converters

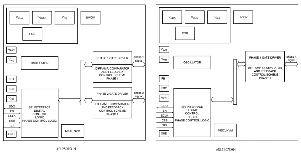
NXP Semiconductors ASLx507 DC-to-DC Boost Converters include single and dual-phase ICs with a programmable limp-home mode. These boost converter ICs include one or two integrated gate drivers which drive external power MOSFETs and integrated Proportional-Integral (PI) controllers. NXP ASLx507 Boost Converters provide an SPI interface for extensive control and diagnostic communication with an external microcontroller. These boost converters allow configurable operation in the limp-home mode if SPI communication with the microcontroller fails. The outputs of the ASLx507 ICs operate according to predefined conditions stored in non-volatile memory (NVM) programmable by the customer in the limp-home mode.

Features

  • AEC-Q100 grade 1 qualified
  • Limp-home mode ensures system safety
  • Single phase on each output or double phase on one output
  • Two independently controlled output voltages with 3% accuracy
  • 125kHz to 700kHz fixed frequency operation via built-in oscillator
  • Programmable spread spectrum functionality
  • Gate switching is halted when overvoltage on output is detected
  • Programmable gate voltage
  • Low electromagnetic emission (EME) and high electro-magnetic immunity (EMI)
  • Slope compensation to track frequency and output voltage
  • Programmable control loop compensation
  • Output voltage monitoring
  • Supply voltage measurement
  • Read-back programmed voltage and frequency range via SPI
  • Junction temperature monitoring via SPI
  • HVQFN32 package outline

Specifications

  • 5.5V to 40V wide operating input range
  • 2.5V to 80V wide operating LED voltage
  • <5µA quiescent current at +25°C
  • -40°C to +125°C operating ambient temperature range

Applications

  • Automotive LED lighting
    • Daytime running lights
    • Position or park lights
    • Low beams
    • High beams
    • Turn indicators
    • Fog lights
    • Cornering lights
  • Industrial/consumer
    • Lighting (interior)
    • Control panels
    • Battery chargers
    • E-bikes

Block Diagram

Block Diagram - NXP Semiconductors ASLx507 DC-to-DC Boost Converters
View Results ( 4 ) Page
Part Number Datasheet Description Number of Channels Input Voltage Operating Frequency Supply Current - Max Package/Case
ASL2507SHNY ASL2507SHNY Datasheet LED Lighting Driver ICs Dual phase boost converter IC, Automotive grade, SPI, Limp Home mode 2 Channel 5.5 V to 40 V 125 kHz to 700 kHz 250 uA HVQFN-32
ASL1507SHNY ASL1507SHNY Datasheet LED Lighting Driver ICs Single-phase boost converter IC , automotive grade, SPI, Limp Home mode 1 Channel 5.5 V to 40 V 125 kHz to 700 kHz 250 uA HVQFN-32
ASL2500SHNY ASL2500SHNY Datasheet LED Lighting Driver ICs Two-Phase Automotive LED Boost Driver 1 Channel 5.5 V to 40 V 20 mA HVQFN-32
ASL1500SHNY ASL1500SHNY Datasheet LED Lighting Driver ICs Single-Phase Automotive LED Boost Driver 20 mA HVQFN-32
Published: 2018-12-06 | Updated: 2022-10-12