QuickLogic EOS™ S3 MCU + eFPGA SoCs

QuickLogic EOS™ S3 MCU + eFPGA SoCs are multi-core, ultra-low power sensor-processing Systems-on-a-Chip designed for mobile market applications such as smartphones, wearables, and Internet of Things (IoT) devices. The core of the EOS S3 SoC platform is the proprietary µDSP-like Flexible Fusion Engine (FFE). To complement the FFE, the EOS S3 SoCs also include an Arm® Cortex®-M4 subsystem that enables higher level, general-purpose processing. This multi-core approach, along with multiple power islands, allows the EOS S3 SoCs to process sensor data and run algorithms in the most processing and power-efficient manner possible.

The QuickLogic EOS S3 MCU + eFPGA SoCs are offered in WLCSP42 and BGA64 packages with a -20°C to +85°C operating temperature range.

Features

  • Multi-Core Design
    • Ultra-low power μDSP-like Flexible Fusion Engine (FFE) for always-on, real-time sensor fusion algorithms, an Arm Cortex M4-F floating-point processor for general purpose processing, and on-chip programmable logic for flexibility and integration of additional logic functions to a single device
    • Multiple, concurrent cores enable algorithm partitioning capability to achieve the most power and computationally efficient sensor processing system-on-a-chip (SoC) in the market
  • Cortex-M4-F Processor
    • Up to 80MHz operating speed
    • Up to 512KB SRAM with multiple power modes, including deep sleep
    • Ideal for computationally intensive sensor processing algorithms (continuous heart rate monitor, indoor navigation, always-on voice triggering, etc.)
  • Third-Generation Flexible Fusion Engine (FFE)
    • Up to 10MHz operating frequency
    • 50KB control memory
    • 16KB data memory
    • μDSP-like architecture for efficient mathematical computations
    • Ideal for always-on, real-time sensor fusion algorithms (such as pedometer, activity classification, gesture recognition, and others)
  • Communication Manager
    • Communicates with host applications processor through its SPI Slave
    • Up to 20MHz
    • Audio support for Pulse Density Modulation (PDM) or I2S microphones
    • Optional hardware PDM bypass path to forward microphone data to application processor or Voice CODEC
    • Dedicated logic for PDM to Pulse Code Modulation (PCM) conversion
    • Dedicated hard logic integration of Sensory Low Power Sound Detect (LPSD) for on-chip voice recognition
  • Sensor Manager
    • 5KB x 18-bit memory
    • Completely autonomous (zero load on the M4-F) initialization and sampling of sensors through hard-wire I2C or configurable I2C/SPI
  • Programmable Fabric (FPGA)
    • 2400 effective logic cells with 64Kbit RAM available
    • Eight RAM FIFO controllers
    • Provides the capability to add logic functions or augment existing logic functions
  • Additional Features
    • On-device circuit to support 32.768kHz clock or crystal oscillator
    • Dual Low-Dropout (LDO) regulators for on-chip regulation
    • Power Management Unit (PMU) for minimizing power in all conditions (idle, deep sleep, and shut down)
    • SPI Master, SPI Slave, I2S Master, I2S Slave, and I2C interfaces
    • Audio support for PDM or I2S microphones
    • Internal codec available for Pulse Density Modulation (PDM) to Pulse Code Modulation (PCM) conversion
    • 12-bit ΔΣ Analog-to-Digital Converter (ADC) for battery monitoring
    • 2-pin Serial Wire Debug (SWD) port
    • System DMA engine for efficient data movement
    • eFuse memory for storing AES Key, voltage trim, and other configurable information
  • Operating System Support
    • Android OS
    • Real-Time Operating System (RTOS) compatible
  • Package Options
    • 2.66mm x 2.42mm x 0.51mm 42-ball WLCSP (27 user I/O, 2 VCCIO banks)
    • 3.5mm x 3.5mm x 0.71mm 64-ball BGA (46 user I/O, 2 VCCIO banks)

Applications

  • Smartphones
  • Wearables
  • Always-on voice applications
  • AI inferencing at the edge/endpoint
  • General-purpose Internet of Things (IoT) applications

Products by Category

Videos

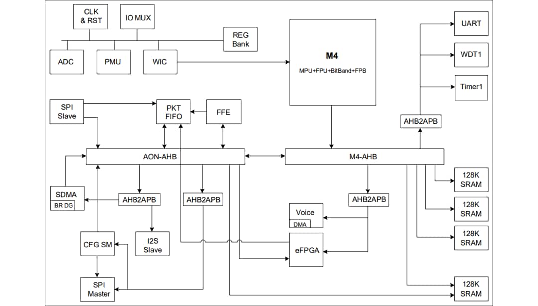
Block Diagram

Block Diagram - QuickLogic EOS™ S3 MCU + eFPGA SoCs

Simplified Platform Architecture

Block Diagram - QuickLogic EOS™ S3 MCU + eFPGA SoCs
Published: 2021-03-08 | Updated: 2022-03-11