Semtech GS12281 UHD-SDI Cable Driver

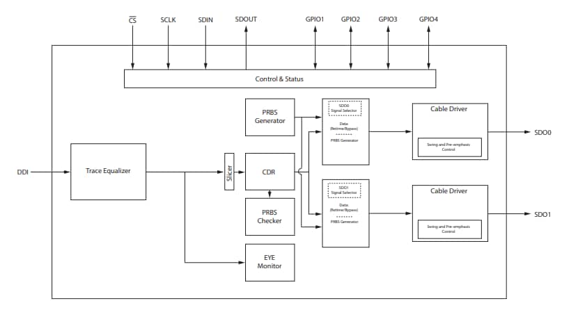
Semtech GS12281 Ultra High Definition (UHD)-Serial Digital Interface (SDI) Cable Driver is a low-power, multi-rate retiming device that supports data rates up to 12Gbps. This Semtech cable driver is designed to receive 100Ω trace input signals and transmit the re-timed signal over 75Ω coaxial cables. The 100Ω trace input supports up to 17dB of insertion loss. The GS12281 cable driver features dual non-inverted 75Ω cable interface with on-chip termination. This cable driver offers an integrated eye monitor which provides non-disruptive mission mode analysis of the post-equalized input signal. The 256 x 128 resolution scan matrix allows accurate signal analysis and enables field analysis.

The GS12281 cable driver provides configurable pre-emphasis and swing controls to compensate for connector losses. This cable driver provides user selectable output slew rate control for each cable driver. The GS12281 cable driver finds its applications in next-generation 12G UHD-SDI infrastructures which support UHDTV1, UHDTV2, and 4K Digital Cinema.

Features

  • Dual non-inverted 75Ω cable interface with on-chip termination
  • SMPTE ST 2082-1, ST 2081-1, ST 424, ST 292-1, and ST 259 compliant input/output
  • Multi-standard operation from 1Mbps to 11.88Gbps
  • 3D input signal eye monitor
  • Clock data recovery (CDR)
  • Cable driver modes
    • Wide swing control
    • Pre-emphasis to compensate for significant insertion loss between device output and Bayonet Neill–Concelman (BNC)
    • Automatic/manual output slew rate control
    • Manual or automatic re-timer bypass
    • Manual or automatic mute or disable on Loss Of Signal (LOS)

Applications

  • UHDTV1 and UHDTV2
  • 4K D-Cinema and 3D high frame rate (HFR)
  • High dynamic range (HDR) production image formats
  • Cameras and switchers
  • Distribution amplifiers and routers

Specifications

  • Single 1.8V power supply for analog and digital core
  • 2.5V or 3.3V for cable driver output supply
  • Gennum Serial Peripheral Interface (GSPI) serial control and monitoring interface
  • -40°C to +85°C operating temperature range
  • 6mm x 4mm 40-pin QFN package

Block Diagram

Block Diagram - Semtech GS12281 UHD-SDI Cable Driver
View Results ( 3 ) Page
Part Number Datasheet Description
GS12281-INE3 GS12281-INE3 Datasheet Video ICs 12G UHD-SDI Retiming CD (GEN 2)
GS12281-INTE3 GS12281-INTE3 Datasheet Video ICs 12G UHD-SDI ReTIMING Cable Driver
GS12281-INTE3Z GS12281-INTE3Z Datasheet Video ICs 12G UHD-SDI Retiming Cable Driver
Published: 2018-02-10 | Updated: 2023-05-17