Texas Instruments DAC60516 16-Channel 12-Bit DAC
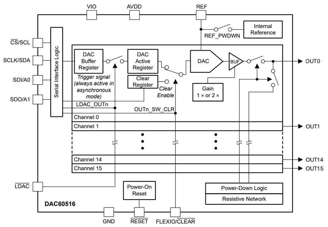
Texas Instruments DAC60516 16-Channel 12-Bit Digital-to-Analog Converter (DAC) is a 12-bit, low-power, 16-channel, buffered voltage output DAC. The DAC60516 includes a 2.5V, 15ppm/°C internal reference, eliminating the need for an external precision reference in most applications. A user-selectable gain configuration can provide full-scale output voltages of 2.5V or 5V. The DAC60516 operates from a single power supply.Communication to the DAC60516 is performed through an SPI- and I2C-supported serial interface, operating at clock rates of up to 50MHz (during SPI writes to the device). The VIO pin enables serial interface operation from 1.7V to 5.5V. The DAC60516 flexible interface enables operation with various industry-standard microprocessors and microcontrollers.
The Texas Instruments DAC60516 is available in a small WQFN package and operates over the temperature range of –40°C to +125°C.
Features
- Performance
- INL of ±1LSB maximum at 12-bit resolution
- TUE of ±0.15% of FSR maximum
- Integrated 2.5V precision internal reference
- Initial accuracy of ±2.5mV maximum
- Drift of 15ppm/°C typical
- Flexible configuration options
- User selectable gain of 2×, or 1×
- Reset to zero scale
- Clear output function
- High drive capability of 50mA with 0.5V from supply rails
- Wide operating range
- Power supply of 2.7V to 5.5V
- Temperature range of –40°C to +125°C
- SPI and I2C interfaces with 1.7V to 5.5V operation
- SPI: 4-wire interface
- I2C: Four target addresses
- 4mm × 4mm, 28-pin WQFN small package
Applications
- Optical modules
- Inter-DC interconnect
- Analog output module
Functional Block Diagram
Published: 2025-04-09
| Updated: 2025-04-17
