Texas Instruments TMDS1204EVM Redriver Evaluation Module

Texas Instruments TMDS1204EVM Redriver Evaluation Module (EVM) is a PCB created to help customers evaluate the TMDS1204 for video applications with HDMI interfaces. The TMDS1204 is an HDMI 2.1 redriver supporting data rates up to 12Gbps. It is backward compatible with HDMI 1.4b and HDMI 2.0b. This evaluation module can also be used as a hardware reference design for implementations of the Texas Instruments TMDS1204.

Features

  • Plug and play design
  • Three device enable/reset options
  • Local I2C access
  • A DC Power Jack (J9) to accept a 5V wall power adapter
  • USB Micro B connector powering capability
  • Configuration available through jumpers

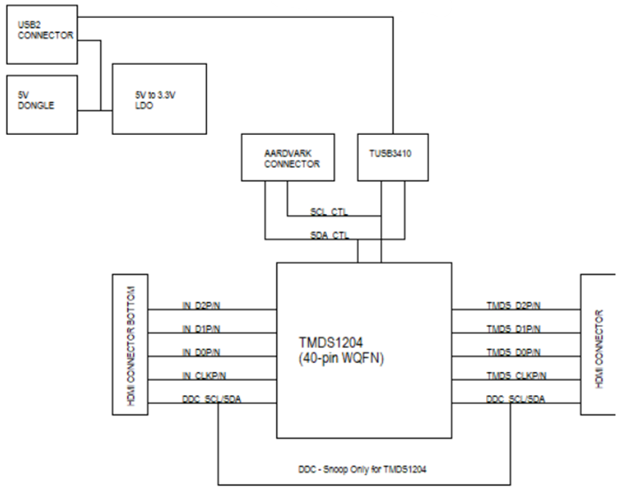
Block Diagram

Block Diagram - Texas Instruments TMDS1204EVM Redriver Evaluation Module
Published: 2022-09-30 | Updated: 2022-10-07