Texas Instruments TPS27SA08/TPS27SA08-Q1 Smart High-Side Switches

TTexas Instruments TPS27SA08/TPS27SA08-Q1 Smart High-Side Switch is a single-channel smart high-side switch intended for use with 24V supply systems. The device integrates robust protection and diagnostic features to ensure output port protection even during harmful events like short circuits. The device protects against faults through a reliable current limit, which, depending on the device variant, can be configured to react to an overcurrent event by instantly turning the switch off or regulating the output current at the setpoint (nominally 20A). The TPS27SA08/TPS27SA08-Q1 device also provides a high-accuracy analog current sense that allows for improved diagnostics when driving varied load profiles. The device enables predictive maintenance and load diagnostics that lengthen the system's lifetime by reporting load current, device temperature, and supply voltage to a system MCU. The Texas Instruments TPS27SA08/TPS27SA08-Q1 device is available in a small 16-pin HTSSOP package, which allows for a reduced PCB footprint.

Features

  • Single-channel smart high-side switch with a typical 9mΩ RON (TJ = 25°C)
  • Improve reliability through overcurrent protection
    • The current limit threshold is nominally at 20A
    • Current limiting (clamping) on reaching the threshold
  • Robust integrated output protection
    • Integrated thermal protection
    • Protection against short-to-ground and supply
    • Automatic FET switch-on during reverse supply
    • Automatic shut off if a loss of supply and ground occurs
    • Integrated output clamp to demagnetize inductive loads
    • Configurable fault handling
  • Analog sense output can be configured to measure accurately
    • Load current
    • Supply voltage
    • Device temperature
  • Provides FLT indication back to MCU
    • Detection of open load in off-state and short-to-GND

Applications

  • Industrial motor drives
  • Heating elements
    • Sensor element heaters
    • Tank heaters
  • High current digital outputs
  • Inductive loads

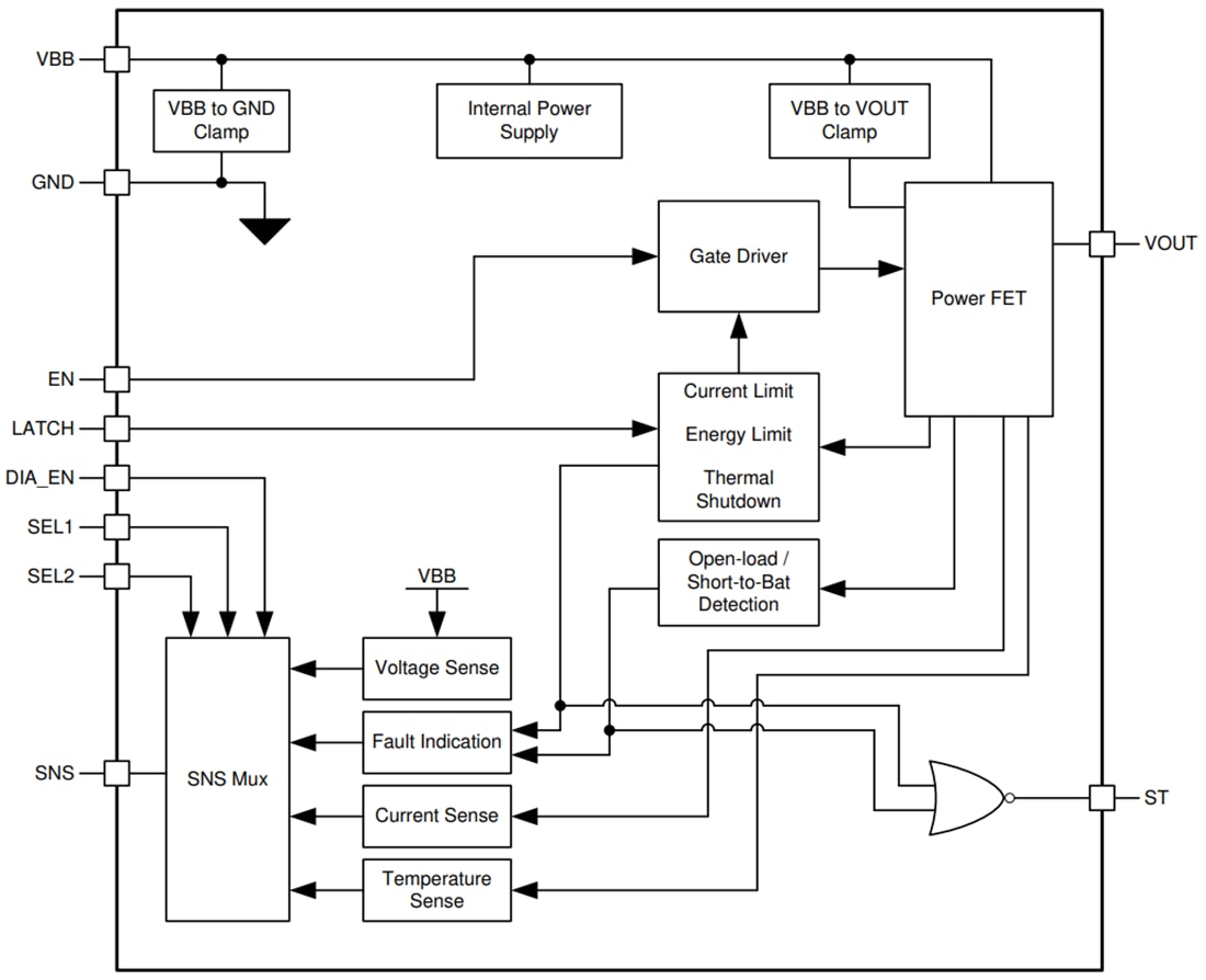
Functional Block Diagram

Block Diagram - Texas Instruments TPS27SA08/TPS27SA08-Q1 Smart High-Side Switches
Published: 2020-12-02 | Updated: 2024-10-07