AMD / Xilinx Artix®-7 FPGA AC701 Evaluation Kit
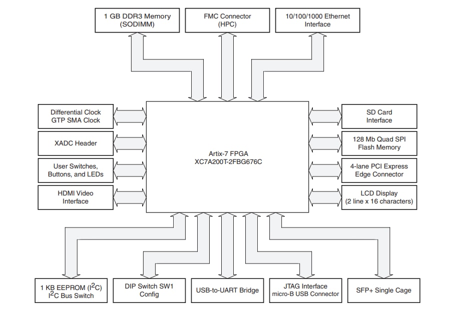
AMD / Xilinx Artix®-7 FPGA AC701 Evaluation Kit provides a hardware environment for developing and evaluating designs targeting the Artix-7 FPGAs. AMD / Xilinx Artix®-7 FPGA AC701 Evaluation Kit offers features common to many embedded processing systems, including a DDR3 SODIMM memory, a four-lane PCI Express® interface, a tri-mode Ethernet PHY, general purpose I/O, and a UART interface.Other features can be added by using an FPGA mezzanine card (FMC) attached to the VITA-57 FPGA mezzanine connector provided on the board. The kit also includes a high pin count (HPC) FMC connector. The Artix-7 FPGA AC701 Evaluation Kit provides a targeted reference design enabling high-performance serial connectivity and advanced memory interfacing equipped with a full license for the Northwest Logic DMA engine.
Features
- Optimized for quickly prototyping cost-sensitive applications using Artix-7 FPGAs
- Hardware, design tools, IP, and pre-verified reference designs
- Demonstrates a high-performance data transfer system using a PCI Express® x4 Gen2
- Reference design implemented with Northwest Logic DMA engine attached to an AXI interface
- Advanced memory interface with 1GB DDR3 SODIMM up to 533MHz/1066Mbps
- Enabling high-performance serial connectivity with GTP ports on FMC, SFP, and SMA
- Supports embedded processing with MicroBlaze, soft 32bit RISC
- Develop networking applications with 10-100-1000 Mbps Ethernet (RGMII)
- Implement video display applications with HDMI out
- Expand I/O with the FPGA Mezzanine Card (FMC) interface
Videos
Board Overview
Block Diagram
Published: 2019-05-30
| Updated: 2024-05-29
